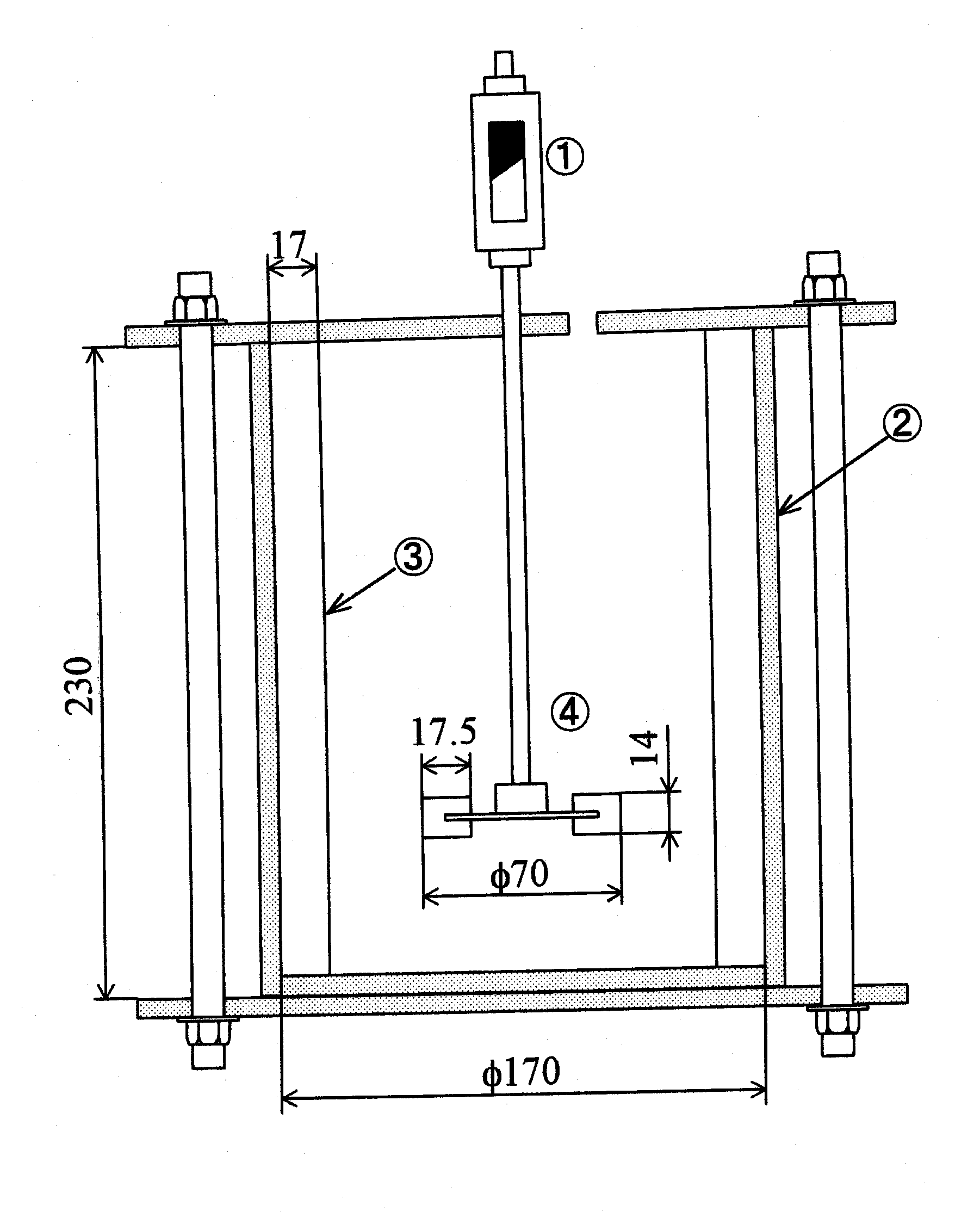
}‚Q ŽÀŒ±‘•’u‚ÌŠT—ªB‡@ƒgƒ‹ƒNƒ[ƒ^ ‡AŠha‘… ‡BŽ×–‚” ‡CŠha—ƒB’PˆÊ‚ÍmmB